六六云韩国原生IP VPS目前有两款,韩国原生IP和韩国原生IP2,线路一样,配置一样,只是管理平台不同,推荐韩国原生IP2套餐,第一款线路有点拥挤。所以,这里我们简单测评下第二款性能如何。
韩国原生IP,CN2/LG线路,解锁韩区netflix、afreecatv、tving、wavve等,非DNS解锁;测速面板:kr.666cloud.tech
| 韩国原生IP(线路拥挤) | 韩国原生IP 2(推荐此款) |
| 1vCPU | 1vCPU |
| 1G 内存 | 1G 内存 |
| 15G SSD高速硬盘 | 15G SSD高速硬盘 |
| 30Mbps->50Mbps 峰值带宽 | 50Mbps 峰值带宽 |
| 双向800GB流量 | 双向800GB流量 |
| ¥55.00 CNY月繳 | ¥55.00 CNY月繳 |
| ¥5.00 設定費 | ¥5.00 設定費 |
| 立即購買 | 立即購買 |
六六云韩国原生IP VPS配置信息情况和描述一致,解锁韩区奈菲、chatgpt;磁盘读写速度不太行。
ping网络延迟
韩国原生IP
speedtest国内外节点测速
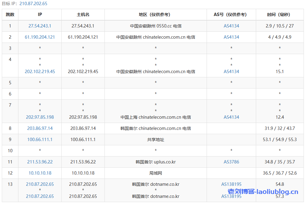
去程路由追踪测试
回程路由追踪测试
其他流媒体解锁情况
VPS其他性能参数一览
原文链接:https://www.laoliublog.cn/31857.html












