荫云yinnet最近上线了韩国双ISP家宽住宅IP产品,使用优惠码仅需$9.6/月,他家更有香港HKT产品,1G独享仅需$150/月,对海外电商IP有极高要求的可以去看一下,下面是荫云yinnet韩国双ISP的详细测评。

荫云yinnet官方网站:https://www.yin-net.com/
荫云yinnet优惠码:yinnet,8折
| 内存 | CPU | 带宽 | 硬盘 | 流量 | 价格 | 购买 |
| 1G | 1核 | 100M | 10G | 1T/月 | $12/月 | 链接 |
| 2G | 2核 | 200M | 20G | 2T/月 | $16/月 | 链接 |
| 4G | 4核 | 300M | 50G | 3T/月 | $25/月 | 链接 |
| 8G | 8核 | 500M | 100G | 5T/月 | $40/月 | 链接 |
購買前請仔細查看服務條款:https://www.yin-net.com/index.php?rp=/knowledgebase/1/%E6%9C%8D%E5%8B%99%E6%A2%9D%E6%AC%BE.html
官方頻道通知群,第壹時間獲取各種優惠活動:https://t.me/yinnetcom
任何售前售後問題請提交工單:https://www.yin-net.com/submitticket.php
下面就给大家带来详细测评
性能测试
可以看到CPU使用的是 2686V4 基本频率为2.3
通过fio测试如下图
geekbench 5跑分如下图
CPU、内存、磁盘等测试数据
IP质量测试(为ISP的IP)
网络测试
ping值测试
电信去程测试
移动去程测试
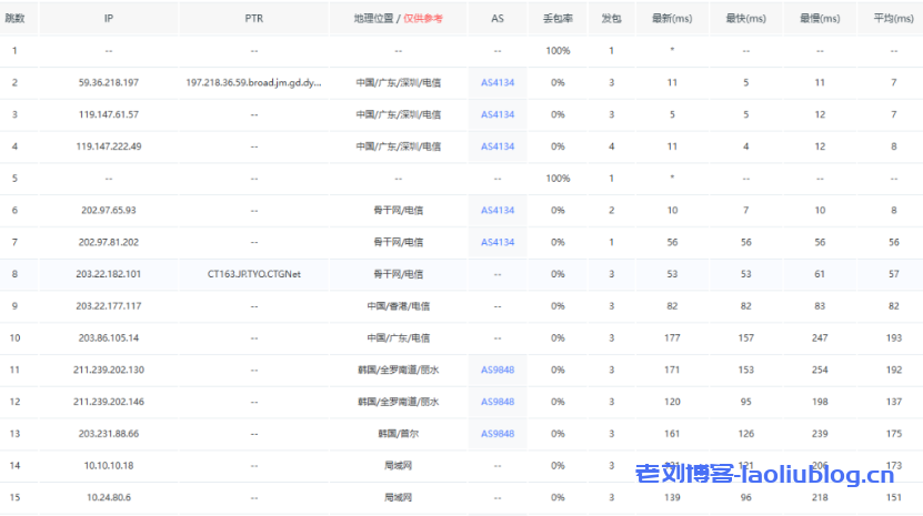
线路回程测试
节点测速测速
IP质量
对于IP要求较高的可以看一下,线路对联通移动比较友好。
原文链接:https://www.laoliublog.cn/34034.html















