ReCloud是一家提供全球多地服务器租用服务的新加坡供应商,覆盖新加坡、日本、马来西亚、英国、香港、台湾、越南和美国等多个地区,提供多样化的服务器配置和网络优化方案。支付方式:支付宝、USDT。本文分享商家美国9929优化线路VPS,现商家特给到本站读者专享7折优惠码,1C1G10G SSD,1TB月流量@30Mbps带宽,年付仅252元。
ReCloud美国9929优化线路VPS套餐列表:
美国优化带宽,仅限个人用户,严禁长时间跑满带宽,自动脚本监控,发现自动限速,无法人工干涉解除限速!购买时请使用优惠码:gwvpscepingus(限10台,优惠码可被使用3次,推荐年付,毕竟流量是双倍的)
📦 套餐分类:9929 传家宝系列
| 机房 | 套餐名称 | 套餐名称 | 配置 | 带宽 | 硬盘 | 原价 |
|---|---|---|---|---|---|---|
| 美国 | 9929 传家宝 | 1C1G(月付) | 1核1G | 512GB@峰值30M | SSD 10G | ¥30.00/月 购买链接 |
| 美国 | 9929 传家宝 | 1C1G(年付) | 1核1G | 1TB@峰值30M | SSD 10G | ¥360.00/年 购买链接 |
| 美国 | 9929 传家宝 | 2C2G(年付) | 2核2G | 2TB@峰值30M | SSD 10G | ¥580.00/年 购买链接 |
🔥 套餐分类:9929 限量款系列
| 套餐名称 | 配置 | 带宽 | 存储 | 价格 | 付费周期 | 可用数量 |
|---|---|---|---|---|---|---|
| 美国 | 9929 限量款 | 1C1G | 1核1G | 峰值50M | SSD 15G | ¥40.00/月 购买链接 |
| 美国 | 9929 限量款 | 2C2G | 2核2G | 峰值50M | SSD 20G | ¥60.00/月 购买链接 |
| 美国 | 9929 限量款 | 2C4G | 2核4G | 峰值80M | SSD 25G | ¥90.00/月 购买链接 |
| 美国 | 9929 限量款 | 4C4G | 4核4G | 峰值100M | SSD 40G | ¥110.00/月 购买链接 |
✅ 通用特性说明
- ✅ 线路:9929路由(大陆优化)
- ✅ 静态IP
- ✅ IP媒体解锁(适合流媒体使用)
- ✅ 高性能SSD存储
- ✅ 自动脚本监控,严禁长期跑满带宽,限速不可人工解除
- 📢 仅限个人用户
- 📬 用户讨论组:Telegram 群组
ReCloud美国9929传家宝,1C1G套餐测评分享:
基础配置信息,intel处理器,配置可见是1C1G,站长开启了BBR加速,解锁奈飞、tiktok、gpt等流媒体,磁盘I/O在769MB/s左右。
FIO数据读写测试,大致测试结果如下:
看下IP质量情况及IP纯净度
国内三网多节点的延迟测试数据,全部节点平均172ms,这延迟是妥妥优化过的线路!移动191ms,电信167ms,联通160ms。
ping.pe丢包率测试,海外基本不丢包
Speedtest国内外节点测试,30Mbps带宽可跑满!
iperf3欧美主要节点测速
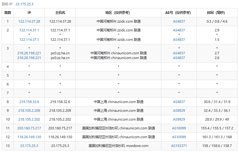
去程路由追踪测试
四川电信去程,去到广东电信,再直连洛杉矶cogent电信,不绕路
河南联通去程,渠道上海联通AS9929,直连洛杉矶联通AS10099,不绕路
回程路由追踪测试
一键三网回程,基本是三网回程均走来南通9929优质线路
三网回程具体路由详情
----------------------------------------------------------------------------------
NextTrace to China, Guangzhou CT (TCP Mode, Max 30 Hop)
============================================================
traceroute to 113.108.209.1, 30 hops max, 52 bytes payload, TCP mode
1 23.175.25.1 *
2.40 ms
2 118.26.149.129 AS10099 [CUG-BACKBONE] Los Angeles California United States chinaunicomglobal.com
1.27 ms
3 162.219.85.1 AS10099 [CUG-BACKBONE] Shanghai China chinaunicomglobal.com 联通
134.55 ms
4 218.105.2.201 AS9929 [CNC-BACKBONE] Shanghai China chinaunicom.cn 联通 CUII
122.75 ms
5 218.105.131.181 AS9929 [CNC-BACKBONE] Guangzhou Guangdong Province China chinaunicom.cn 联通 CUII
160.81 ms
6 210.14.161.154 * [CNC-BACKBONE] Guangzhou Guangdong Province China
152.05 ms
7 *
8 202.97.10.77 AS4134 [CHINANET-BB] Guangzhou Guangdong Province China www.chinatelecom.com.cn
160.86 ms
9 *
10 *
11 *
12 *
13 *
14 *
15 *
16 *
17 *
18 *
19 *
20 *
21 *
22 *
23 *
24 *
25 *
26 *
27 *
28 *
29 *
30 *
NextTrace to China, Shanghai CT (TCP Mode, Max 30 Hop)
============================================================
traceroute to 180.153.28.5, 30 hops max, 52 bytes payload, TCP mode
1 23.175.25.1 *
0.36 ms
2 118.26.149.129 AS10099 [CUG-BACKBONE] Los Angeles California United States chinaunicomglobal.com
1.09 ms
3 162.219.85.5 AS10099 [CUG-BACKBONE] Shanghai China chinaunicomglobal.com 联通
133.89 ms
4 218.105.2.93 AS9929 [CNC-BACKBONE] Shanghai China chinaunicom.cn 联通 CUII
134.40 ms
5 218.105.2.150 AS9929 [CNC-BACKBONE] Shanghai China chinaunicom.cn 联通 CUII
134.88 ms
6 202.97.16.65 AS4134 [CHINANET-BB] Shanghai China www.chinatelecom.com.cn 电信
142.00 ms
7 *
8 *
9 124.74.166.10 AS4812 [CHINANET-SH] Shanghai China chinatelecom.cn 电信
137.16 ms
10 222.73.35.158 AS4812 [CHINANET-SH] Shanghai China 浦东 chinatelecom.cn 电信
144.51 ms
11 *
12 *
13 *
14 *
15 *
16 *
17 *
18 *
19 *
20 *
21 *
22 *
23 *
24 *
25 *
26 *
27 *
28 *
29 *
30 *
NextTrace to China, Beijing CT (TCP Mode, Max 30 Hop)
============================================================
traceroute to 180.149.128.9, 30 hops max, 52 bytes payload, TCP mode
1 23.175.25.1 *
0.46 ms
2 118.26.149.129 AS10099 [CUG-BACKBONE] Los Angeles California United States chinaunicomglobal.com
0.79 ms
3 162.219.85.1 AS10099 [CUG-BACKBONE] Shanghai China chinaunicomglobal.com 联通
134.26 ms
4 210.14.165.37 * [CNC-BACKBONE] Shanghai China 联通
128.61 ms
5 218.105.131.125 AS9929 [CNC-BACKBONE] Beijing China chinaunicom.cn 联通 CUII
156.00 ms
6 210.78.30.158 * [CNC-BACKBONE] Beijing China chinaunicom.cn 联通 CUII
149.40 ms
7 *
8 202.97.117.221 AS4134 [CHINANET-BB] Beijing China www.chinatelecom.com.cn
158.77 ms
9 *
10 36.110.246.222 AS23724 Beijing China bjtelecom.net 电信
153.80 ms
11 *
12 *
13 *
14 *
15 *
16 *
17 *
18 *
19 *
20 *
21 *
22 *
23 *
24 *
25 *
26 *
27 *
28 *
29 *
30 *
NextTrace to China, Guangzhou CU (TCP Mode, Max 30 Hop)
============================================================
traceroute to 210.21.4.130, 30 hops max, 52 bytes payload, TCP mode
1 23.175.25.1 *
0.33 ms
2 118.26.149.129 AS10099 [CUG-BACKBONE] Los Angeles California United States chinaunicomglobal.com
1.02 ms
3 162.219.85.1 AS10099 [CUG-BACKBONE] Shanghai China chinaunicomglobal.com 联通
134.56 ms
4 218.105.2.205 AS9929 [CNC-BACKBONE] Shanghai China chinaunicom.cn 联通 CUII
128.58 ms
5 218.105.131.181 AS9929 [CNC-BACKBONE] Guangzhou Guangdong Province China chinaunicom.cn 联通 CUII
161.55 ms
6 210.14.161.66 * [CNC-BACKBONE] Guangzhou Guangdong Province China
161.08 ms
7 *
8 *
9 120.83.0.54 AS17816 [APNIC-AP] Guangzhou Guangdong Province China chinaunicom.cn 联通
168.41 ms
10 120.80.91.90 AS17816 [APNIC-AP] Guangzhou Guangdong China chinaunicom.cn 联通
163.85 ms
11 *
12 *
13 *
14 *
15 *
16 *
17 *
18 *
19 *
20 *
21 *
22 *
23 *
24 *
25 *
26 *
27 *
28 *
29 *
30 *
NextTrace to China, Shanghai CU (TCP Mode, Max 30 Hop)
============================================================
traceroute to 58.247.8.158, 30 hops max, 52 bytes payload, TCP mode
1 23.175.25.1 *
0.41 ms
2 118.26.149.129 AS10099 [CUG-BACKBONE] Los Angeles California United States chinaunicomglobal.com
0.78 ms
3 162.219.85.1 AS10099 [CUG-BACKBONE] Shanghai China chinaunicomglobal.com 联通
134.29 ms
4 218.105.2.93 AS9929 [CNC-BACKBONE] Shanghai China chinaunicom.cn 联通 CUII
134.54 ms
5 218.105.2.174 AS9929 [CNC-BACKBONE] Shanghai China chinaunicom.cn 联通 CUII
128.73 ms
6 219.158.32.1 AS4837 [CU169-BACKBONE] Shanghai China chinaunicom.cn 联通
135.40 ms
7 *
8 *
9 112.64.250.202 AS17621 [APNIC-AP] Shanghai China chinaunicom.cn 联通
144.20 ms
10 58.247.8.153 AS17621 Shanghai China 浦东新区 chinaunicom.cn 联通
149.21 ms
11 *
12 *
13 *
14 *
15 *
16 *
17 *
18 *
19 *
20 *
21 *
22 *
23 *
24 *
25 *
26 *
27 *
28 *
29 *
30 *
NextTrace to China, Beijing CU (TCP Mode, Max 30 Hop)
============================================================
traceroute to 123.125.99.1, 30 hops max, 52 bytes payload, TCP mode
1 23.175.25.1 *
14.86 ms
2 118.26.149.129 AS10099 [CUG-BACKBONE] Los Angeles California United States chinaunicomglobal.com
0.80 ms
3 203.160.75.218 AS10099 [CUG-BACKBONE] Hong Kong China chinaunicomglobal.com 联通
128.07 ms
4 218.105.2.205 AS9929 [CNC-BACKBONE] Shanghai China chinaunicom.cn 联通 CUII
128.63 ms
5 218.105.131.101 AS9929 [CNC-BACKBONE] Beijing China chinaunicom.cn 联通 CUII
154.61 ms
6 210.78.30.158 * [CNC-BACKBONE] Beijing China chinaunicom.cn 联通 CUII
149.79 ms
7 *
8 *
9 *
10 219.232.11.206 AS4808 [BGTELECOM] Beijing China 中国联通 联通
163.51 ms
11 *
12 *
13 *
14 123.125.99.1 AS4808 [UNICOM-BJ] Beijing China China Unicom Beijing Province Network
153.74 ms
NextTrace to China, Guangzhou CM (TCP Mode, Max 30 Hop)
============================================================
traceroute to 120.196.212.25, 30 hops max, 52 bytes payload, TCP mode
1 23.175.25.1 *
0.45 ms
2 118.26.149.129 AS10099 [CUG-BACKBONE] Los Angeles California United States chinaunicomglobal.com
0.81 ms
3 162.219.85.1 AS10099 [CUG-BACKBONE] Shanghai China chinaunicomglobal.com 联通
134.39 ms
4 218.105.2.201 AS9929 [CNC-BACKBONE] Shanghai China chinaunicom.cn 联通 CUII
128.50 ms
5 218.105.131.181 AS9929 [CNC-BACKBONE] Guangzhou Guangdong Province China chinaunicom.cn 联通 CUII
155.07 ms
6 210.14.161.62 * [CNC-BACKBONE] Guangzhou Guangdong Province China
161.23 ms
7 *
8 *
9 *
10 *
11 211.136.204.77 AS56040 [CMNET] Guangzhou Guangdong Province China gd.10086.cn 移动
180.04 ms
12 *
13 120.197.234.140 AS56040 [APNIC-AP] Guangzhou Guangdong Province China gd.10086.cn 移动
174.89 ms
14 211.139.180.106 AS56040 [CMNET] Guangzhou Guangdong Province China gd.10086.cn 移动
188.99 ms
15 *
16 *
17 *
18 *
19 *
20 *
21 *
22 *
23 *
24 *
25 *
26 *
27 *
28 *
29 *
30 *
NextTrace to China, Shanghai CM (TCP Mode, Max 30 Hop)
============================================================
traceroute to 221.183.55.22, 30 hops max, 52 bytes payload, TCP mode
1 23.175.25.1 *
3.49 ms
2 118.26.149.129 AS10099 [CUG-BACKBONE] Los Angeles California United States chinaunicomglobal.com
1.00 ms
3 203.160.75.218 AS10099 [CUG-BACKBONE] Hong Kong China chinaunicomglobal.com 联通
127.91 ms
4 210.14.165.33 * [CNC-BACKBONE] Shanghai China 联通
129.27 ms
5 218.105.2.174 AS9929 [CNC-BACKBONE] Shanghai China chinaunicom.cn 联通 CUII
134.72 ms
6 *
7 221.183.123.105 AS9808 [CMNET] Shanghai China chinamobileltd.com 移动
170.64 ms
8 *
9 *
10 *
11 *
12 *
13 *
14 *
15 *
16 *
17 *
18 *
19 *
20 *
21 *
22 *
23 *
24 *
25 *
26 *
27 *
28 *
29 *
30 *
NextTrace to China, Beijing CM (TCP Mode, Max 30 Hop)
============================================================
traceroute to 211.136.25.153, 30 hops max, 52 bytes payload, TCP mode
1 23.175.25.1 *
48.29 ms
2 118.26.149.129 AS10099 [CUG-BACKBONE] Los Angeles California United States chinaunicomglobal.com
0.76 ms
3 203.160.75.218 AS10099 [CUG-BACKBONE] Hong Kong China chinaunicomglobal.com 联通
127.96 ms
4 218.105.2.201 AS9929 [CNC-BACKBONE] Shanghai China chinaunicom.cn 联通 CUII
128.66 ms
5 218.105.131.101 AS9929 [CNC-BACKBONE] Beijing China chinaunicom.cn 联通 CUII
148.60 ms
6 210.78.30.166 * [CNC-BACKBONE] Beijing China CU-CNC-Peer chinaunicom.cn 联通 CUII
157.74 ms
7 *
8 *
9 *
10 *
11 211.136.66.229 AS56048 [CMNET] Beijing China bj.10086.cn 移动
181.57 ms
12 211.136.63.66 AS56048 [CMNET] Beijing China bj.10086.cn 移动
184.70 ms
13 211.136.63.66 AS56048 [CMNET] Beijing China bj.10086.cn 移动
182.47 ms
14 *
15 *
16 *
17 211.136.25.153 AS56048 [CMNET] Beijing China bj.10086.cn 移动
184.32 ms
NextTrace to China, Beijing Dr.Peng Network IDC Network (TCP Mode, Max 30 Hop)
============================================================
traceroute to 211.167.230.100, 30 hops max, 52 bytes payload, TCP mode
1 23.175.25.1 *
0.41 ms
2 *
3 154.54.91.5 AS174 [COGENT-BONE] Los Angeles California United States cogentco.com
34.16 ms
4 154.54.40.157 AS174 [COGENT-BONE] San Jose California United States cogentco.com
12.63 ms
5 154.54.169.66 AS174 [COGENT-BONE] San Jose California United States cogentco.com
12.65 ms
6 38.88.225.106 AS174 Los Angeles California United States cogentco.com
166.48 ms
7 219.158.117.1 AS4837 [CU169-BACKBONE] Beijing China chinaunicom.cn 联通
171.83 ms
8 *
9 *
10 *
11 123.126.0.146 AS4808 [UNICOM-BJ] Beijing China 中国联通 联通
189.53 ms
12 *
13 202.99.1.126 AS17964 [CN-DEFENCE] Beijing China drpeng.com.cn 联通
178.89 ms
14 218.241.255.138 AS4808 [BITNET] Beijing China 中国联通 联通
185.91 ms
15 218.241.253.134 AS4808 [BITNET] Beijing China 中国联通 联通
179.29 ms
16 *
17 *
18 *
19 *
20 *
21 *
22 *
23 *
24 *
25 *
26 *
27 *
28 *
29 *
30 *
----------------------------------------------------------------------------------
原文链接:https://www.laoliublog.cn/35072.html














